315曝光賣5萬多元的聽花酒 曾被茅臺、瀘州老窖起訴
來源:快科技 編輯:非小米 時間:2024-03-15 22:06人閱讀
快科技3月15日消息,今晚央視315曝光了“高端商務白酒”的聽花酒。
據報道,聽花酒“標準裝售價5860元,精品裝售價58600元!”昂貴價格令人吃驚。
這款酒宣稱具有提升免疫力、改善睡眠、保障男性勃起功能、調節生理紊亂、抗衰老等功效。
經曝光,聽花酒所謂的國際專利提到的涼味劑,并不是什么高科技物質,竟是常見薄荷提取物。
企查查APP顯示,宜賓聽花酒業發展有限責任公司成立于2012年12月,法定代表人為李蓉全,注冊資本1470萬元人民幣。
值得注意的是,該公司涉及多起司法案件信息,曾被瀘州老窖、貴州茅臺等公司起訴。
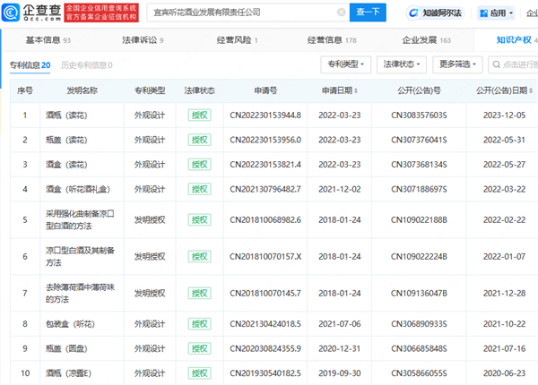
該公司注冊有300多枚商標,包括聽花、醬香PLUS等商標。值得注意的是,該公司僅有20條專利信息,且大多為外觀設計專利。
分享到:
本站所有文章、數據、圖片均來自互聯網,一切版權均歸源網站或源作者所有。
如果侵犯了你的權益請來信告知我們刪除。郵箱:business@qudong.com




